排序
千里之堤,溃于蚁穴—“余量”决定了一件光伏的专利无效结果?
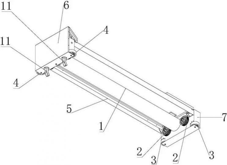
本文以一件专利无效案例浅谈如何准确、客观的理解另一现有技术公开的技术特征。【案例解析】发明名称:一种光伏组件及其自动清扫装置申请号:CN201520439003.5涉案专利的权利要求1为:一种光伏...
中止,能否破坏《重大专利侵权纠纷行政裁决办法》快速优势的发挥?
8月,国家知识产权局根据《重大专利侵权纠纷行政裁决办法》做出首例裁决(国知保裁字【2021】1号),判定东阳光侵犯勃林格殷格翰的一件治疗2型糖尿病药物欧唐宁的专利(ZL201510299950.3)成立...
七边形乒乓球拍底板专利被无效,未来七边形乒乓球拍底板会是趋势吗?
【案件信息】案件编号:第46W121241号决定日:2022年08月16日发明创造名称:乒乓球拍底板(七边形)无效宣告请求人:管建民专利权人:罗永发专利号:CN202130791512.5【基本案情】2022年04月12日...






